Thursday, 1 September 2016

Newly awarded patent teases Apple's VR aspirations


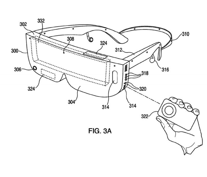
Yesterday, Apple was granted a patent for its first-ever VR headset. Titled 'Head-Mounted Display Apparatus For Retaining A Portable Device With Display' the patent detailed a headset that was similar to that of a Gear VR, but made to house an iPhone. The headset might not look stylish, but includes space for a docked iPhone, dual lenses, an Apple remote for controlling the device and built-in headphones. It's not sexy, but the confirmation that Apple is at least working on something in the virtual reality space adds to the excitement - not that Apple's 'secret' VR division was that big a secret to…

This story continues at The Next Web


No comments:

Post a Comment